它它医生电脑端2026-3-5 更新预告
尊敬的它它医生用户:
它它医生系统即将进行版本升级,具体更新计划如下:
【更新时间】2026年3月5 日00:00~08:00更新电脑端
【更新方式】电脑端无感更新
【适用版本】单店版、连锁版、中台版
【更新内容】
具体更新内容详见下方链接:
https://chonglaoban.feishu.cn/wiki/XnY5wEYiAiiD0AkVm2Kc4nDsnB4?from=from_copylink
一、新增数据总览导航
新增数据总览导航,可快速跳转至对应的数据统计报表页面

二、营业报表优化
1、收入概况
1.1 优化收入概况各报表的展示样式,支持统计环比率及同比率,并新增概况明细统计模块

1.2 优化实际到账收款分布表新增收入及退款明细查询入口,点击可查询关联订单明细

1.3 优化实际到账趋势图及营业额趋势图新增按门店、微信小程序、新零售(美团外卖、饿了么、京东秒送、抖音小时达)渠道统计

1.4 新增项目营业额分布图,支持按商品类、服务类、寄养类、活体类和记账本维度统计营业额

2、资产报告
2.1 新增商品概况和活体概况分布图,支持按商品分类、商品品牌及活体品种进行分析

2.2 其他预收款优化,支持按会员维度查看预约服务押金、住院押金、预约寄养押金、寄养预存款、付费券分别点击查看明细,并支持导出

三、销售报表优化
1. 综合报表
1.1 新增统计会员和散客用户本期、上期、比上期增长和增长率
1.2 客单数和客单价统计优化,支持按统计对象进行细分统计
1.3 综合报表新增数据导出入口
1.4 综合报表趋势图新增按销售数量查看趋势分布情况,并新增挂号、住院类型

2. 销售分析
全页面改版,从更多的角度进行销售分析,支撑门店对经营分析的精细化需求
2.1 新增销售总览模块,统计周期内商品、服务、活体、寄养4个类型的销售数量、销售金额、销售成本、毛利润的销售总览

2.2 优化商品、服务、活体销售销售总览模块,新增客单价、毛利率、订单量及下单人数等维度进行统计分析,并新增对应的环比和同比分析

2.3 新增寄养总览模块,支持统计周期内的寄养金额、宠物寄养数量、订单数量及客单价,并支持对应的环比和同比分析

2.4 新增商品、服务、活体、寄养4个类型的销售趋势分析图

2.5 新增商品、服务、活体、寄养4个类型的销售占比分析图,支持按分类、品牌、品种等维度进行统计分析
2.6 新增商品、服务、活体、寄养4个类型的销量分析,支持对TOP10销量进行排行
3. 销售趋势
3.1 优化新增商品按分类和品牌维度分析销售趋势,且新增毛利率、平均单价统计指标,并支持数据导出
3.2 新增寄养销售趋势分析模块,支持按寄养项目/寄养房型统计分析销售数量、销售金额和平均单价,并支持数据导出

4. 销售明细
- 门店商品明细和微信商城明细新增统计商品单位和毛利率数据指标
- 服务销售明细新增统计服务分类、宠物物种数据指标,并新增按分类和宠物物种进行筛选
- 活体明细新增统计活体品种、活体类型和毛利率数据指标
- 新零售明细新增统计毛利率数据指标



5. 赠送记录
优化赠送记录按消费赠送记录和储值赠送记录两类进行统计明细,储值赠送的商品、服务和活体(含立即赠送)核销后均计入【消费赠送记录】,储值赠送记录不再重复统计

四、用户报表优化
1. 用户分析
新增新增会员、下单人数、下单数、客单价、会员卡开卡数、次卡开卡数、会员续充次数指标的同比和环比分析

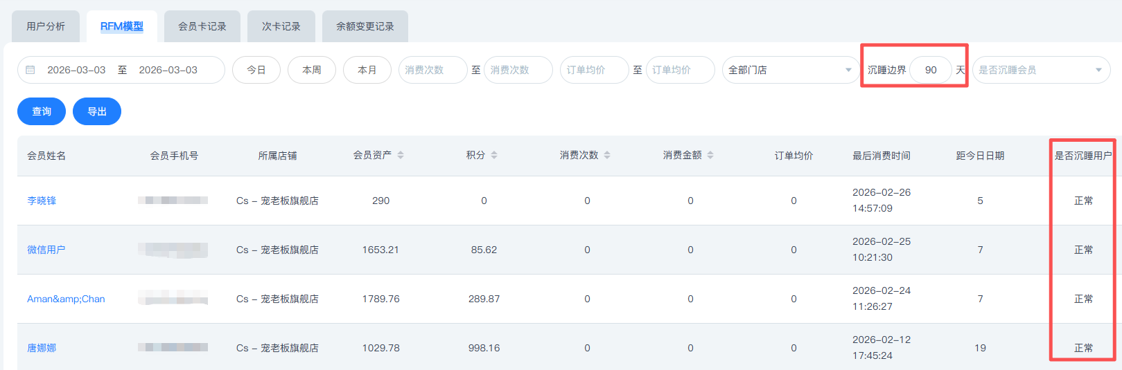
2. RFM模型
新增沉睡用户指标分析,可设置沉睡用户边界值(默认90天以上);新增沉睡用户筛选,支持快速筛选出沉睡用户

五、店员报表优化
店员提成明细商品、服务、寄养、活体新增宠物、会员手机号统计指标;会员卡开卡、会员卡充值、续费、次卡开卡新增会员名称和手机号统计指标
